Một đơn xin cấp bằng sáng chế mới của Apple gợi ý công ty đang phát triển một công nghệ mới có thể phát hiện ánh sáng qua màn hình. Công nghệ mới này có thể được sử dụng cho các phiên bản Face ID và Touch ID trong tương lai.

Kể từ khi phát hành iPhone X cho đến bây giờ, Apple vẫn giữ nguyên kích thước phần tai thỏ, trong khi đó các nhà sản xuất Android bây giờ chỉ còn một lỗ nhỏ chứa camera trước. Tất nhiên, điều này là do Apple đang sử dụng một hệ thống nhận diện khuôn mặt Face ID vô cùng phức tạp, khác biệt so với các nhà sản xuất khác.

Nhưng một số tin đồn gần đây vẫn tin rằng Apple sẽ sớm phát hành những mẫu iPhone có màn hình đục lỗ. Để làm được điều này, Apple cần tích hợp được Face ID hay Touch ID dưới màn hình. Và thật trùng hợp, một đơn xin cấp bằng sáng chế mới của Apple đã tiết lộ những gì Apple có thể thực hiện trong tương lai.
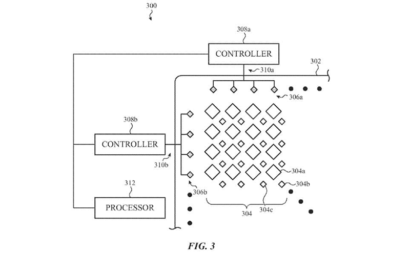
Bằng sáng chế này nói về một hệ thống phát hiện ánh sáng phía sau màn hình. Trong bằng sáng chế, Apple nói đến hai cách triển khai khác nhau dường như tương ứng với Touch ID và Face ID.
Trong đó, sáng chế đầu tiên nói về một cảm biến phía sau màn hình có thể thu thập hình ảnh của một vật thể chạm vào màn hình, có thể là phiên bản tương lai của Touch ID.

Sáng chế thứ hai mô tả một hệ thống bao gồm một loạt các điốt quang hoặc pin mặt trời sẽ nhận các thông tin ánh sáng. Hệ thống sẽ sử dụng tín hiệu điện từ các điốt quang để cảm nhận màu sắc và cường độ của ánh sáng, đây có thể là công nghệ áp dụng cho Face ID trong tương lai.
Tất nhiên, những sáng chế này mới đang nằm trên giấy, Apple có rất nhiều sáng chế như vậy nhưng không nhiều trong số chúng đều xuất hiện trên các sản phẩm thương mại.
Nguồn: iphonehacks
