Rất nhiều thương hiệu sản xuất điện thoại thông minh đã giới thiệu các mẫu smartphone gập trong năm nay. Và gần đây Apple đã nhận bằng sáng chế iPhone gập với bản lề cực mỏng. Có thể công ty đang cân nhắc về sản phẩm này trong tương lai gần.

Apple gần đây đã nhận được bằng sáng chế cho một loại bản lề gập. Sản phẩm này có thể xuất hiện trên iPhone, MacBook Pro hoặc một thiết bị nào đó. Bằng sáng chế này gọi là “bản lề ma sát bằng sợi composite”. Chúng ta có thể hiểu, bản lề sử dụng chất liệu composite khiến nó cực mỏng tuy nhiên vẫn đảm bảo độ chắc chắn. Nhiều tin đồn dự đoán rằng đây có thể là bằng sáng chế chuẩn bị cho mẫu iPhone màn hình gập tương lai.

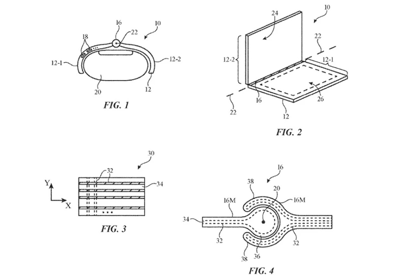
Trong bằng sáng chế, Apple tiết lộ “Một thiết bị điện tử có thể có một hoặc nhiều bản lề. Ví dụ: một thiết bị gập có thể có phần vỏ thứ nhất được ghép với phần vỏ thứ hai bằng bản lề ma sát. Bản lề ma sát có thể bao gồm sợi – các cấu trúc composite sợi carbon và cấu trúc composite sợi khác. Việc sử dụng cấu trúc composite sợi có thể giúp giảm khối lượng bản lề trong khi cải thiện hiệu suất của nó.” Người dùng có thể xem bản phác thảo bằng sáng chế trên đây.

Điều này một lần nữa là bằng chứng cho việc Apple hiện đang phát triển iPhone gập. Gần đây, hãng cũng nộp bằng sáng chế cho một loại pin có thể gập lại. Nó được kỳ vọng sẽ cung cấp năng lượng như trên một smartphone thông thường. Nhà phân tích Ming-Chi Kuo của TF International cho biết Apple có thể sẽ xuất xưởng 15-20 triệu chiếc iPhone gập vào năm 2023. Hãy cùng chờ đợi những thông tin tiếp theo nhé.
