Theo trang Gizmochina, Apple đang phát triển một màn hình OLED gập mới, tương lai màn hình này sẽ có mặt trên iPhone hoặc iPad.

Theo trang Apple đang phát triển màn hình OLED không sử dụng công nghệ phân cực. Nói cách khác, công ty đang nghiên cứu mẫu iPhone đầu tiên có thể gập lại và áp dụng công nghệ màn hình mới này.


Trang báo cho biết, nhiều nguồn tin thân cận cũng đã chia sẻ rò rỉ trên với tờ TheElec. Việc loại bỏ công nghệ phân cực sẽ làm cho màn hình mỏng hơn. Việc này cũng đồng nghĩa rằng tấm nền cũng có thể gập lại. Có thể người dùng chưa biết, bộ phân cực chỉ có tác dụng cho phép sóng ánh sáng (có hướng nhất định) truyền qua. Điều này sẽ giúp cải thiện tuổi thọ nhưng làm giảm độ sáng của màn hình.

Samsung Display là công ty đầu tiên sản xuất thành công màn hình OLED không phân cực, được sử dụng trên mẫu Galaxy Z Fold3. Dĩ nhiên, Apple cũng có thể làm được và hãng đang lên kế hoạch phát triển chiếc iPhone đầu tiên có thể gập lại.

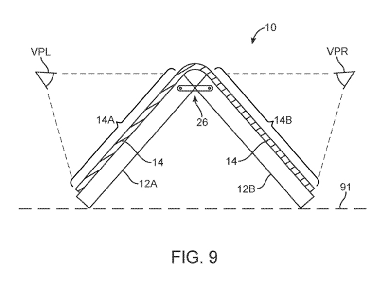
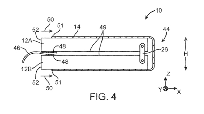
Nhiều báo cáo cũng đã tiết lộ bằng sáng chế của Apple, liên quan đến thiết bị có thể gập màn hình. Các nhà phân tích cũng đã tuyên bố rằng Apple sẽ ra mắt iPhone gập đầu tiên vào năm 2025. Chính vì vậy, việc phát triển và trình làng màn hình OLED trước khi ra mắt điện thoại là điều hợp lý.
