Có thể Apple đang nghiên cứu cách làm cho kính màn hình của iPhone hoặc iPad mỏng hơn, bền hơn bằng việc sử dụng cấu trúc hỗ trợ đặc biệt xung quanh được làm bằng kính.

iPhone hay các thiết bị di động khác của Apple đang sử dụng các tấm kính màn hình nhằm bảo vệ màn hình khỏi va đập và trầy xước. Cùng với sự phát triển không ngừng của thiết kế thiết bị dựa nhiều hơn vào kính cong cho mặt trước. Điều này đưa ra những thách thức thiết kế không dễ dàng chinh phục được với các kỹ thuật hiện có.

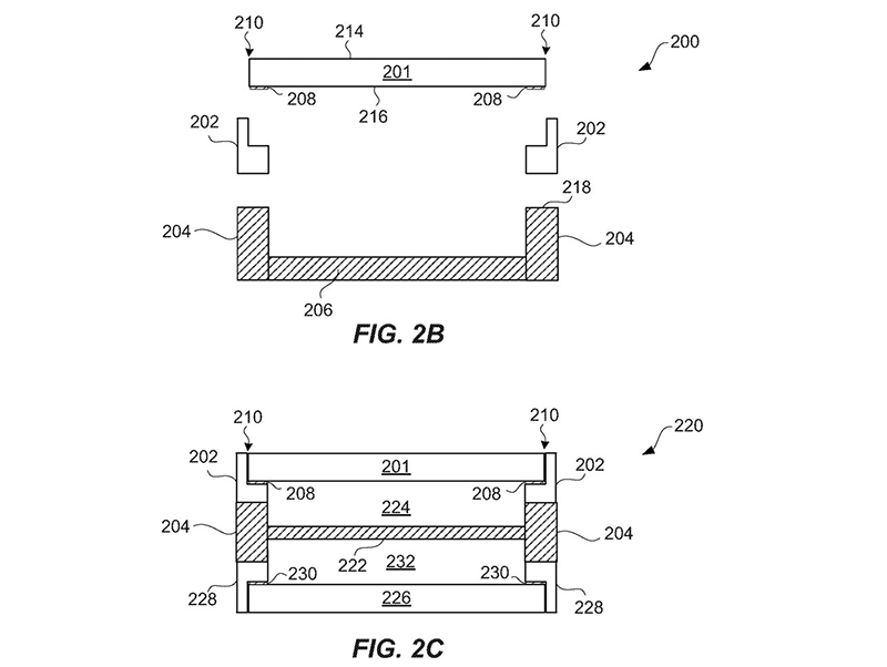
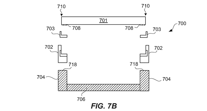
Trong một bằng sáng chế do Văn phòng Thương hiệu và Bằng sáng chế Mỹ cấp có tiêu đề “Chèn khuôn bằng kính xung quanh cho các thiết bị điện tử” cung cấp bởi AppleInsider, Apple đã đưa ra giải pháp cho biết sản phẩm có thể có một loại nắp kính có thể nhô ra như kính cong, nhưng đồng thời duy trì độ mỏng của các phần kính chính trên màn hình.
Giải pháp của Apple chính là sử dụng cấu trúc mới cho lớp kính xung quanh mép của mặt kính. Phần kính này sẽ đóng vai trò trung gian giữa lớp vỏ chính và lớp kính mỏng. Trong khi đó, vỏ kính có thể được làm từ một chất liệu kính khác. Nó sẽ có các đặc tính để tối đa hóa độ bền và độ mỏng của sản phẩm.

Bằng sáng chế của Apple gợi ý rằng cấu trúc kính có thể được đúc liền kề với vỏ kính, để tạo thành một “giao diện không có khe hở”. Bằng sáng chế nêu tên các tác giả là David Pakula, Stephen Brian Lynch, Richard Hung Minh Dinh, Tang Yew Tan và Lee Hua Tan, được nộp vào ngày 13 tháng 1 năm 2020.
Apple nộp nhiều đơn đăng ký bằng sáng chế hàng tuần. Bằng sáng chế cho thấy các nỗ lực nghiên cứu và phát triển của Apple nhưng không đảm bảo ý tưởng sẽ xuất hiện trong một sản phẩm trong tương lai. Apple cũng đã cân nhắc việc sử dụng những tấm kính lớn để tạo ra một chiếc iMac hoàn toàn bằng kính.
Nguồn: gizmochina
